長探桿大口徑電子式流量開關NK300安裝與功能設定
長探桿大口徑電子式流量開關NK300安裝與功能設定,基本內容如下:
LED功能及設定(開關量型)
將流量開關裝好,使介質以需要監測的流速流動,調整電位計,使第一個綠色LED恰好變亮。此后當流速低于當前值時,開關就釋放。若要使開關點比當前流速小,可調整電位計使綠色LED多亮一些。
LED功能及設定(模擬量型型)
模擬量輸出型流量傳感器,輸出為4...20mA,正比于流速,輸出為線性。每個傳感器有2個旋鈕,一個為上限(20mA)。一個為下限(40mA),用于輸出設定。
將流量開關裝好,使介質以需要監測的低限流速流動,調整下限旋鈕,使第一個綠色LED亮(4mA)。使介質以需要檢測的上限流速流動,調整上限旋鈕,使第五個綠燈亮(20mA);此后,輸出將正比于上限和下限之間的流速,即4mA對應下限流速,20mA對應上限流速。
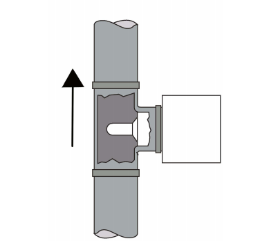
安裝
當垂直安裝時,應裝在由下至上流動的管段上
當水平安裝時,探頭應避開空氣和沉淀物
如果想要了解更多長探桿大口徑電子式流量開關NK300安裝與功能設定,請點擊:長探桿大口徑電子式流量開關NK300或直接點擊熱導式流量開關查看更多產品信息。


